The Project Gutenberg EBook of Essex Terraplane Six 1933 Owner's Manual of
Information, by Anonymous

This eBook is for the use of anyone anywhere at no cost and with
almost no restrictions whatsoever.  You may copy it, give it away or
re-use it under the terms of the Project Gutenberg License included
with this eBook or online at www.gutenberg.net


Title: Essex Terraplane Six 1933 Owner's Manual of Information

Author: Anonymous

Release Date: October 27, 2011 [EBook #37863]

Language: English

Character set encoding: ISO-8859-1

*** START OF THIS PROJECT GUTENBERG EBOOK ESSEX TERRAPLANE SIX 1933 MANUAL ***




Produced by Gerard Arthus, Diane Monico, and the Online
Distributed Proofreading Team at http://www.pgdp.net






(cover)

ESSEX
TERRAPLANE
SIX

1933

Owner's Manual
of Information

Printed in U. S. A.


Warranty

"We warrant each new passenger automobile manufactured by us to be free from defects in material and workmanship under normal use and service, our obligation under this warranty being limited to making good at our factory any part or parts thereof, including all equipment or trade accessories (except tires) supplied by the Car Manufacturer, which shall, within ninety (90) days after making delivery of such vehicle to the original purchaser or before such vehicle has been driven 4000 miles, whichever event shall first occur, be returned to us with transportation charges prepaid, and which our examination shall disclose to our satisfaction to have been thus defective, this warranty being expressly in lieu of all other warranties expressed or implied and of all other obligations or liabilities on our part, and we neither assume nor authorize any other person to assume for us any other liability in connection with the sale of our vehicles.

"This warranty shall not apply to any vehicle which shall have been repaired or altered by other than an authorized Hudson and Essex Distributor or Dealer in any way so as, in the judgment of the Manufacturer, to affect its stability or reliability nor which has been subject to misuse, negligence or accident."

HUDSON MOTOR CAR COMPANY
Detroit, Michigan, U. S. A.


INDEX

General
 Page
Breaking-in Instructions,3
Capacities of Units,14
Care of Finish,15
Lamp Bulb Types,14
License Data,14
Starting the Engine,4
Warranty,1
Lubrication
Chassis,7
Clutch,5
Distributor,8
Door Dovetails,8
Door Locks and Hinges,8
Engine,5
Fan,8
Generator,7
Lubrication Service,15
Rear Axle,6
Steering Gear,7
Transmission,6
Wheel Bearings,6
Adjustment
Adjust Distributor Points,9
Battery,14
Brakes,11
Carburetor (See Engine Tuning),9
Clutch Pedal,11
Engine Tuning,9
Fan and Generator Belt,10
Front Wheel Alignment,15
Front Wheel Bearings,12
Generator Charging Rate,14
Ignition Timing,9
Radiator (Cooling System),15
Rear Wheel Bearings,12
Shock Absorbers,15
Spark Plugs,14
Spring Clips,15
Tappets,15
Tires,15
Wheels (Removal and Installation),12
Wiring Diagram,13

[Pg 3]

Operation

Breaking-in Instructions

Keep Radiator Full Keep Oil Reservoir Full

Heat is a major consideration in a new engine. Do not allow the engine to overheat. Although the heat indicator on the instrument panel shows the general temperature of the engine, it will not show a sudden rise in temperature of an individual part.

The pressure imposed on parts such as bearings and pistons due to rapid acceleration or hard pulling will cause them to overheat if the car has not been driven sufficiently to break them in. Avoid fast acceleration and hard pulling while breaking in.

High speed also develops higher operating temperatures and to avoid damage the car speed should be kept within the following recommendations:

0-250 MILES

Do not exceed 40 miles per hour in high gear or 20 miles per hour in second. Do not accelerate rapidly. Use second gear on steep grades. Keep motor temperature within "driving range" on dash heat indicator.

250-500 MILES

Do not exceed 50 miles per hour in high gear or 25 miles per hour in second.

500-1000 MILES

During this period the speed should not exceed 60 miles per hour.

IMPORTANT

Do not UNDER ANY CONSIDERATION attempt to maintain a high rate of speed unless the crankcase is full of good oil and until the engine is thoroughly warmed up. Cold oil is not able to flow freely into the small clearances between working parts so that damage may occur if sufficient time is not allowed for warming up before attempting high speeds.


[Pg 4]

(OIL SIGNAL, CLUTCH CONTROL, GENERATOR SIGNAL,
STARTER, LIGHTS, IGNITION, CHOKE)

Starting the Engine

If the engine is cold, pull the choke knob out as far as possible, turn the ignition switch key to the right, depress the accelerator pedal slightly, and pull the starter knob out. When the engine "fires," push the choke knob in until the engine runs evenly. Return the choke knob gradually to the full in position as the engine warms up. The choke knob should never be out any farther than necessary to maintain even running of the engine.

If the engine is warm from previous running, use the choke sparingly. In most instances the engine will start immediately without the use of the choke if the accelerator pedal is held in a slightly depressed position while the starter is used. Do not under any circumstances work the accelerator pedal rapidly when starting as the accelerator pump may flood the carburetor.

Oil Signal—The red signal on the left hand indicates oil pressure and the functioning of the oiling system. It will glow when the ignition switch is turned on but will go out when the car is under way. Should it continue to burn or flash while the car is under way, it indicates that the oil supply is low or that the oiling system is not functioning properly. Do not run the engine until the oil supply has been replenished or trouble corrected.

Generator Signal—The red signal on the right hand will light when the ignition switch is turned on and will be lighted at all times unless the engine is running at higher than idling speed. Should this signal glow at normal running speeds, it indicates that the generator is not charging and should be inspected immediately by an Essex dealer.

[Pg 5]


Lubrication

Engine

Use High-Grade Oil—Medium Heavy Body (S.A.E. 30)

If cold weather prevails, be sure the oil you use will flow at the temperatures encountered. Oil supply should be maintained at the full mark on the bayonet gauge at the oil filler.

The frequency with which oil should be drained and replenished with new depends largely on the operation of the car. Consult your dealer for recommendations on your car. In any event the oil should be changed at least every 2500 miles.

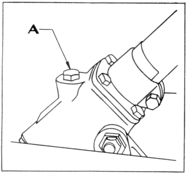
Clutch

Use only a mixture composed of 1/2 kerosene and 1/2 engine oil. Turn starter shaft with wrench, moving wrench handle toward the engine until plug "A" is accessible through opening in rear engine plate. Remove plug "A," continue turning flywheel until opening is down and all clutch oil is drained. Then turn until opening is again accessible. Pour in by means of offset funnel no more than 1/3 pint of clutch mixture. Replace plug "A" and tighten securely. The clutch oil should be drained and replenished at least every 5000 miles.

The clutch throwout bearing should be lubricated with one ounce of light viscous grease[A] every 500 miles. A pressure fitting is provided on the right side of the clutch bell housing.

[A] See page 7 for grease specifications.

[Pg 6]

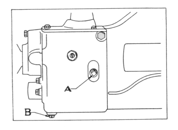
Transmission

The transmission lubricant should be maintained to the level of the filler plug "A." In warm climate or during summer months use transmission gear oil S.A.E. 110. In winter or when near-zero temperatures prevail use transmission gear oil S.A.E. 80. Remove drain plug "B" every 5000 miles, flush out with 1 pint of kerosene and refill with oil of proper type.

Rear Axle

The oil supply should be kept level with the lower edge of the filler plug opening "A." Use a good grade of heavy-bodied gear oil. S.A.E. 110 in warm climate (summer temperatures)—S.A.E. 90 when lower temperatures prevail (winter). During the winter months be sure the oil you are using will flow at the temperatures encountered.

Wheel Bearings

The front wheel bearings should be lubricated every 5000 miles with a good grade of cup grease. Remove hub and wash bearings and inside of hub with kerosene. Pack each bearing and hub with 3 ounces of No. 2 cup grease (see page 12 for adjusting wheel bearings).

The rear wheel bearings should be lubricated every 5000 miles with No. 3 cup grease. Remove four nuts from bearing cap "A" and remove caps and shims. Pull bearing and after washing bearing and housing in kerosene repack each bearing housing with 1-1/2 ounces of cup grease. Then replace bearings, shims and caps, draw up wheel hub tight on shaft and install cotter pin.

[Pg 7]

Steering Gear

Summer S.A.E. 160
Winter S.A.E. 110

Remove plug "A" and pour a good heavy-bodied gear oil into the steering gear housing every 2000 miles. Do not use cup grease or you will experience hard steering in cold weather.

Chassis

All spring shackle fittings (12) should be lubricated every 1000 miles with a light viscous grease.[B]

All pressure fittings on the front axle (4) and the steering gear drag link (2) should be lubricated every 1000 miles with pressure grease.

The front universal joint sleeve splines should be supplied with a small amount of long fibre grease, through the plug provided, at 4000-mile intervals.

[B] Grease Specifications—4% Calcium Soap compounded with an oil of 400 seconds viscosity and a zero pour test.

Generator

Supply three or four drops (no more) of engine oil to each oil cup "A" and "B" every 1000 miles. Do not attempt to supply more oil as it may interfere with the functioning of the generator.

[Pg 8]

Distributor

Fill distributor base with oil at cup "C" every 2000 miles. Coat rotor cam "A" with a thin film of vaseline every 2000 miles. Apply one drop (no more) of light oil to breaker arm pivot "B" every 2000 miles. Wipe excess oil and clean distributor head, removing oil or dust before returning to position. Be sure each high-tension terminal and wire on distributor head is pushed as far into its socket as it will go.

Fan

Fill fan shaft bearing with engine oil at oil cup "A" every 1000 miles. It is very important that the fan shaft has plenty of lubrication at all times.

Miscellaneous

Throttle Control Rod—Oil or grease all accelerator connections. Throttle linkage should work with a snap. Grease choke wire occasionally to eliminate sticking.

Door Locks—Apply a drop of engine oil occasionally to latch bar. Work several times to spread oil, then wipe off excess.

Door Latch Striker Plate—Saturate wick with motor oil.

Door Dovetails—Saturate wick in male member with motor oil.

Door Hinges—Open doors and drop light oil in each hinge oil hole, located under the top ledge of body portion of hinge. Wipe off excess.

Hood Locks—Lubricate occasionally with motor oil.

[Pg 9]


Adjustment

Engine Tuning

Do not attempt to adjust the carburetor alone. Perform all of the following operations in the order given:

1. Clean spark plugs and adjust gaps to .025" (.62 mm.).

2. Clean distributor breaker points and adjust to .020" (.50 mm.) maximum opening as described under Ignition Timing.

3. Check battery and ignition wiring, being sure all distributor wires are pressed down in their sockets.

4. Set ignition timing as described under Ignition Timing.

5. Adjust intake valve tappet clearance to .006" (.15 mm.) and exhaust tappet clearance to .008" (.20 mm.).

6. Turn carburetor idling screw "B" into its seat and back out exactly one turn.

7. Start engine.

8. Set carburetor throttle stop screw "A" so that engine idles at a speed equal to a car speed of 5 m.p.h. in high gear.

9. Adjust carburetor idling screw "B" for smooth engine idling. The final adjustment should be from 1/2 to 1 turn of the screw from its full in position.

If the above operations, properly performed, do not give normal engine performance, the car should be taken to an Essex dealer for mechanical inspection.

Ignition Timing

Remove distributor cap and inspect points. High points can be removed by placing a breaker point file between points and letting them close against file under their normal spring pressure.[Pg 10] Move file straight up and down, dressing both points at the same time. If the points are pitted, they should be ground or replaced.

Crank engine, using wrench on starter shaft extension, until the breaker arm fibre block is on the highest point of the cam, giving the points their maximum opening. If necessary to adjust, loosen lock nut "D" and turn screw "E" until the gap is .020" (.50 mm.). Tighten lock nut.

Remove the spark plug from number one cylinder. Crank the engine slowly by hand until air is forced out through the spark plug hole. Continue turning the engine slowly until the D.C. 1 and 6 mark is exactly in line with the pointer as shown at "A."

Loosen distributor clamp screw "B" and turn distributor clockwise to the full limit permitted by the slot in the clamping plate "C."

Turn the distributor counterclockwise until the points have just begun to open. Tighten lock screw "B."

When the engine is in this position the rotor arm "F" will point directly to the sector in the distributor cap to which number one spark plug cable is connected. Following around the cap clockwise from this point the spark plug wires should be in the following order: 1-5-3-6-2-4.

Fan and Generator Belt

The fan and generator drive belt must be kept at sufficient tension to prevent slippage on the pulleys. Do not adjust too tightly or rapid wear on fan and generator bearings will result. To adjust belt tension, loosen nut "A" and swing generator away from engine to tighten. Then lock adjustment by thoroughly tightening nut "A."

[Pg 11]

Clutch Pedal

The clutch rod length should be adjusted so that the clutch pedal can be pushed down 1-1/2" before the clearance is taken up between the levers on the clutch cross shaft and the clutch throwout yoke shaft and further movement of the clutch pedal will begin to disengage the clutch.

To adjust: Loosen lock nut "A," remove clevis pin "C" and turn yoke "B" to obtain proper length. Insert clevis pin and tighten lock nut "A."

Brakes

Unless you are an experienced mechanic, it is advisable to have your brakes adjusted by your Essex dealer. The following operation will, however, take care of normal brake shoe wear if done carefully:

Jack up car, remove all four wheels and remove the inspection covers from the front of the brake drums. Disconnect the four brake cables from the cross shaft; turn the brake drum until the inspection hole is 1-1/2" from the adjusting screw end of the lining of the upper shoe (rear of front brakes—front of rear brakes).

Insert a .014" (.35 mm.) feeler through the inspection hole. Loosen eccentric lock nut "A" and turn eccentric "B" in the direction the wheel rotates when the car is moving forward until the feeler is held snugly between the drum and the lining. Hold the eccentric in this position and tighten lock nut "A." Make this adjustment on all four brakes.

Turn brake drum until inspection hole is 1-1/2" from adjusting screw end of the lining of the lower shoe (rear of front brakes—front of rear brakes). Insert a .008" (.15 mm.) feeler through inspection hole. Insert a screwdriver through opening "C" and turn star wheel until feeler is held snugly. Move the handle of the screwdriver toward the axle to tighten brakes. Make this adjustment on all four wheels.

Reconnect the brake cables at the cross shaft, adjusting the position of the cable yoke so that the clevis pin can just be inserted in the yoke and cross shaft lever hole when the cable is held just taut enough to remove slack.

If trial on road shows too much braking on one wheel, loosen that brake by turning star wheel with screwdriver one notch at a time until the brake is equal with the others. Always loosen the tight brake—do not tighten the loose brakes or the pedal travel will be restricted and may cause brake drag.

[Pg 12]

Front Wheel Bearings

After jacking up front axle and removing the hub cap, withdraw cotter key holding nut "A." Turn nut "A" to the right until a slight drag is felt when turning the wheel slightly by hand. Then loosen the nut just sufficiently to permit the wheel to turn freely. Insert cotter key.

Rear Wheel Bearings

To adjust rear wheel bearings, jack up rear axle and remove both rear wheels. Remove the four nuts from bearing cap "A" and remove cap. By removing shims "B" under the cap the end play of the axle shaft is decreased. Total play between axle shafts should be from .005" to .010" (.12 to .25 mm.) which is perceptible by pulling shaft in and out with the hand. It is necessary that the thickness of shims at each rear wheel be approximately the same, so when adjusting remove a thin shim from each side and repeat, if necessary, until only a slight amount of play is evident. Be sure the axle shafts turn freely before building up.

Removing and Installing Wheels

To remove a wheel, place a screwdriver between the hub cap and hub and pry off cap. Loosen the four cap screws "B" (illustration top of page) with the socket wrench provided. Remove one cap screw in the lowest position and insert the handle of the wrench through the screw hole into the hub. While holding the wheel in position with the wrench, remove the other cap screws and lift off the wheel. The wheels should be jacked up just sufficiently to clear the ground. When replacing the wheel, place the handle of the wrench through the lower cap screw hole, lift up on the wrench so that the wheel will clear the ground and push in place. Align by moving wrench back and forth. Then start two of the cap screws, remove the wrench and start the remaining two. Tighten every other cap screw until all are down enough to hold wheel in place, making sure it is square on the hub. Continue tightening every other screw until all are secure.

[Pg 13]

WIRING DIAGRAM WIRING DIAGRAM
(Click image for larger view.)

[Pg 14]


General Information

License Data

Cylinder Bore—2-15/16"—74.61 mm.
Stroke—4-3/4"—120.65 mm.
Number of Cylinders—6
N. A. C. C. Horsepower Rating—20.7 H.P.
Piston Displacement—193 cubic inches—3.15 liters
Car Serial Number—Plate on dash under bonnet
106" Wheelbase—368,379 and up
113" Wheelbase—    5,001 and up
Engine Serial Number—Stamped on left side (center) of cylinder block (25,131
and up)

Capacities

  U. S. Imperial Metric
Radiator and Cooling System 3 gals. 2.5 gals. 11.35 liters
Gasoline Tank, 106" Wheelbase 11.5 gals. 9.58 gals. 43.53 liters
Gasoline Tank, 113" Wheelbase 16 gals. 13.3 gals. 60.57 liters
Engine Crankcase (refill) 6 qts. 5 qts. 5.68 liters
Clutch 1/3 pint 1/3 pint 180 c.c.
Transmission 3 pints 3 pints 1.4 liters
Rear Axle 3 pints 3 pints 1.4 liters

Spark Plugs

Size 14 mm. Set points at exactly .025" (.62 mm.). Replace after each 10,000 miles (16,000 kilometers) of service.

Generator Charging Rate

Generator is regulated by position of third brush. This should only be altered by competent service stations using accurate measuring instruments.

Generator output { 17 amperes at 8 volts
13 amperes at 6 volts

Output to be measured at generator. Do not exceed the above rates.

Battery

Use only distilled water to cover plates. This should be done as frequently as found necessary. An average of every two weeks during the summer months (less frequently in cooler weather).

Lamp Bulbs

  Candle Power Base Voltage
Headlamp (double filament) 21-21 Double Contact 6-8
Parking (in headlamp or on front fenders) 3 Single Contact 6-8
Telltales (on instrument board) 3 Double Contact 6-8
Instrument Board 3 Single Contact 6-8
Stop and Tail Lamp (double filament) 2-21 Double Contact 6-8
Dome 15 Single Contact 6-8
Fuse (at lamp switch) 20 Amperes  

[Pg 15]

Engine

Firing order of cylinders—1-5-3-6-2-4.

Tappets

Adjust when engine is hot. Minimum clearances—inlet valves, .006" (.15 mm.); exhaust, .008" (.20 mm.). Counting from the front, intake tappets are 2-4-5-8-9-11 and exhaust tappets 1-3-6-7-10-12.

Cooling System

It is good practice to drain, flush and refill the cooling system occasionally. If freezing temperatures are encountered in your community, anti-freeze solution will be necessary during the winter months.

Chassis Lubrication

This book contains detailed information covering lubrication of all units. Spring shackles and steering connections equipped with pressure fittings should be lubricated every 1000 miles. Your Essex dealer will arrange to completely lubricate your car at regular intervals at small cost.

Spring Clips

The nuts on the clips holding springs to axles, front and rear, should be tightened every 5000 miles.

Front Wheel Alignment

The front wheels should have a toe-in of from 0" to a maximum of 1/8" (3.2 mm.) for 5.25 tires and 1/4" (6.4 mm.) for 6.00 tires. Have your dealer check the alignment occasionally and adjust if necessary.

Shock Absorbers

Shock Absorbers—Monroe. Have dealer fill with Monroe Cushion Oil every 2000 to 5000 miles.

Tires

  Minimum Pressure
Size Front Rear
17 x 5.25 28 lbs. 28 lbs.
16 x 6.00 21 lbs. 21 lbs.

Care of Finish

We recommend the use of Hudson-Essex Polish, which is procurable from your dealer. An occasional polishing will preserve the finish. A wax coating is recommended, providing the lacquer is thoroughly cleaned and prepared for the wax surface.


Printed in U. S. A.
S.H.—2500—7-33


Transcriber's Notes

All instances of S. A. E. have been changed to S.A.E. for consistency.

Page 13: Retained spelling of gasolene in wiring diagram.






End of the Project Gutenberg EBook of Essex Terraplane Six 1933 Owner's
Manual of Information, by Anonymous

*** END OF THIS PROJECT GUTENBERG EBOOK ESSEX TERRAPLANE SIX 1933 MANUAL ***

***** This file should be named 37863-h.htm or 37863-h.zip *****
This and all associated files of various formats will be found in:
        http://www.gutenberg.org/3/7/8/6/37863/

Produced by Gerard Arthus, Diane Monico, and the Online
Distributed Proofreading Team at http://www.pgdp.net


Updated editions will replace the previous one--the old editions
will be renamed.

Creating the works from public domain print editions means that no
one owns a United States copyright in these works, so the Foundation
(and you!) can copy and distribute it in the United States without
permission and without paying copyright royalties.  Special rules,
set forth in the General Terms of Use part of this license, apply to
copying and distributing Project Gutenberg-tm electronic works to
protect the PROJECT GUTENBERG-tm concept and trademark.  Project
Gutenberg is a registered trademark, and may not be used if you
charge for the eBooks, unless you receive specific permission.  If you
do not charge anything for copies of this eBook, complying with the
rules is very easy.  You may use this eBook for nearly any purpose
such as creation of derivative works, reports, performances and
research.  They may be modified and printed and given away--you may do
practically ANYTHING with public domain eBooks.  Redistribution is
subject to the trademark license, especially commercial
redistribution.



*** START: FULL LICENSE ***

THE FULL PROJECT GUTENBERG LICENSE
PLEASE READ THIS BEFORE YOU DISTRIBUTE OR USE THIS WORK

To protect the Project Gutenberg-tm mission of promoting the free
distribution of electronic works, by using or distributing this work
(or any other work associated in any way with the phrase "Project
Gutenberg"), you agree to comply with all the terms of the Full Project
Gutenberg-tm License (available with this file or online at
http://gutenberg.net/license).


Section 1.  General Terms of Use and Redistributing Project Gutenberg-tm
electronic works

1.A.  By reading or using any part of this Project Gutenberg-tm
electronic work, you indicate that you have read, understand, agree to
and accept all the terms of this license and intellectual property
(trademark/copyright) agreement.  If you do not agree to abide by all
the terms of this agreement, you must cease using and return or destroy
all copies of Project Gutenberg-tm electronic works in your possession.
If you paid a fee for obtaining a copy of or access to a Project
Gutenberg-tm electronic work and you do not agree to be bound by the
terms of this agreement, you may obtain a refund from the person or
entity to whom you paid the fee as set forth in paragraph 1.E.8.

1.B.  "Project Gutenberg" is a registered trademark.  It may only be
used on or associated in any way with an electronic work by people who
agree to be bound by the terms of this agreement.  There are a few
things that you can do with most Project Gutenberg-tm electronic works
even without complying with the full terms of this agreement.  See
paragraph 1.C below.  There are a lot of things you can do with Project
Gutenberg-tm electronic works if you follow the terms of this agreement
and help preserve free future access to Project Gutenberg-tm electronic
works.  See paragraph 1.E below.

1.C.  The Project Gutenberg Literary Archive Foundation ("the Foundation"
or PGLAF), owns a compilation copyright in the collection of Project
Gutenberg-tm electronic works.  Nearly all the individual works in the
collection are in the public domain in the United States.  If an
individual work is in the public domain in the United States and you are
located in the United States, we do not claim a right to prevent you from
copying, distributing, performing, displaying or creating derivative
works based on the work as long as all references to Project Gutenberg
are removed.  Of course, we hope that you will support the Project
Gutenberg-tm mission of promoting free access to electronic works by
freely sharing Project Gutenberg-tm works in compliance with the terms of
this agreement for keeping the Project Gutenberg-tm name associated with
the work.  You can easily comply with the terms of this agreement by
keeping this work in the same format with its attached full Project
Gutenberg-tm License when you share it without charge with others.

1.D.  The copyright laws of the place where you are located also govern
what you can do with this work.  Copyright laws in most countries are in
a constant state of change.  If you are outside the United States, check
the laws of your country in addition to the terms of this agreement
before downloading, copying, displaying, performing, distributing or
creating derivative works based on this work or any other Project
Gutenberg-tm work.  The Foundation makes no representations concerning
the copyright status of any work in any country outside the United
States.

1.E.  Unless you have removed all references to Project Gutenberg:

1.E.1.  The following sentence, with active links to, or other immediate
access to, the full Project Gutenberg-tm License must appear prominently
whenever any copy of a Project Gutenberg-tm work (any work on which the
phrase "Project Gutenberg" appears, or with which the phrase "Project
Gutenberg" is associated) is accessed, displayed, performed, viewed,
copied or distributed:

This eBook is for the use of anyone anywhere at no cost and with
almost no restrictions whatsoever.  You may copy it, give it away or
re-use it under the terms of the Project Gutenberg License included
with this eBook or online at www.gutenberg.net

1.E.2.  If an individual Project Gutenberg-tm electronic work is derived
from the public domain (does not contain a notice indicating that it is
posted with permission of the copyright holder), the work can be copied
and distributed to anyone in the United States without paying any fees
or charges.  If you are redistributing or providing access to a work
with the phrase "Project Gutenberg" associated with or appearing on the
work, you must comply either with the requirements of paragraphs 1.E.1
through 1.E.7 or obtain permission for the use of the work and the
Project Gutenberg-tm trademark as set forth in paragraphs 1.E.8 or
1.E.9.

1.E.3.  If an individual Project Gutenberg-tm electronic work is posted
with the permission of the copyright holder, your use and distribution
must comply with both paragraphs 1.E.1 through 1.E.7 and any additional
terms imposed by the copyright holder.  Additional terms will be linked
to the Project Gutenberg-tm License for all works posted with the
permission of the copyright holder found at the beginning of this work.

1.E.4.  Do not unlink or detach or remove the full Project Gutenberg-tm
License terms from this work, or any files containing a part of this
work or any other work associated with Project Gutenberg-tm.

1.E.5.  Do not copy, display, perform, distribute or redistribute this
electronic work, or any part of this electronic work, without
prominently displaying the sentence set forth in paragraph 1.E.1 with
active links or immediate access to the full terms of the Project
Gutenberg-tm License.

1.E.6.  You may convert to and distribute this work in any binary,
compressed, marked up, nonproprietary or proprietary form, including any
word processing or hypertext form.  However, if you provide access to or
distribute copies of a Project Gutenberg-tm work in a format other than
"Plain Vanilla ASCII" or other format used in the official version
posted on the official Project Gutenberg-tm web site (www.gutenberg.net),
you must, at no additional cost, fee or expense to the user, provide a
copy, a means of exporting a copy, or a means of obtaining a copy upon
request, of the work in its original "Plain Vanilla ASCII" or other
form.  Any alternate format must include the full Project Gutenberg-tm
License as specified in paragraph 1.E.1.

1.E.7.  Do not charge a fee for access to, viewing, displaying,
performing, copying or distributing any Project Gutenberg-tm works
unless you comply with paragraph 1.E.8 or 1.E.9.

1.E.8.  You may charge a reasonable fee for copies of or providing
access to or distributing Project Gutenberg-tm electronic works provided
that

- You pay a royalty fee of 20% of the gross profits you derive from
     the use of Project Gutenberg-tm works calculated using the method
     you already use to calculate your applicable taxes.  The fee is
     owed to the owner of the Project Gutenberg-tm trademark, but he
     has agreed to donate royalties under this paragraph to the
     Project Gutenberg Literary Archive Foundation.  Royalty payments
     must be paid within 60 days following each date on which you
     prepare (or are legally required to prepare) your periodic tax
     returns.  Royalty payments should be clearly marked as such and
     sent to the Project Gutenberg Literary Archive Foundation at the
     address specified in Section 4, "Information about donations to
     the Project Gutenberg Literary Archive Foundation."

- You provide a full refund of any money paid by a user who notifies
     you in writing (or by e-mail) within 30 days of receipt that s/he
     does not agree to the terms of the full Project Gutenberg-tm
     License.  You must require such a user to return or
     destroy all copies of the works possessed in a physical medium
     and discontinue all use of and all access to other copies of
     Project Gutenberg-tm works.

- You provide, in accordance with paragraph 1.F.3, a full refund of any
     money paid for a work or a replacement copy, if a defect in the
     electronic work is discovered and reported to you within 90 days
     of receipt of the work.

- You comply with all other terms of this agreement for free
     distribution of Project Gutenberg-tm works.

1.E.9.  If you wish to charge a fee or distribute a Project Gutenberg-tm
electronic work or group of works on different terms than are set
forth in this agreement, you must obtain permission in writing from
both the Project Gutenberg Literary Archive Foundation and Michael
Hart, the owner of the Project Gutenberg-tm trademark.  Contact the
Foundation as set forth in Section 3 below.

1.F.

1.F.1.  Project Gutenberg volunteers and employees expend considerable
effort to identify, do copyright research on, transcribe and proofread
public domain works in creating the Project Gutenberg-tm
collection.  Despite these efforts, Project Gutenberg-tm electronic
works, and the medium on which they may be stored, may contain
"Defects," such as, but not limited to, incomplete, inaccurate or
corrupt data, transcription errors, a copyright or other intellectual
property infringement, a defective or damaged disk or other medium, a
computer virus, or computer codes that damage or cannot be read by
your equipment.

1.F.2.  LIMITED WARRANTY, DISCLAIMER OF DAMAGES - Except for the "Right
of Replacement or Refund" described in paragraph 1.F.3, the Project
Gutenberg Literary Archive Foundation, the owner of the Project
Gutenberg-tm trademark, and any other party distributing a Project
Gutenberg-tm electronic work under this agreement, disclaim all
liability to you for damages, costs and expenses, including legal
fees.  YOU AGREE THAT YOU HAVE NO REMEDIES FOR NEGLIGENCE, STRICT
LIABILITY, BREACH OF WARRANTY OR BREACH OF CONTRACT EXCEPT THOSE
PROVIDED IN PARAGRAPH 1.F.3.  YOU AGREE THAT THE FOUNDATION, THE
TRADEMARK OWNER, AND ANY DISTRIBUTOR UNDER THIS AGREEMENT WILL NOT BE
LIABLE TO YOU FOR ACTUAL, DIRECT, INDIRECT, CONSEQUENTIAL, PUNITIVE OR
INCIDENTAL DAMAGES EVEN IF YOU GIVE NOTICE OF THE POSSIBILITY OF SUCH
DAMAGE.

1.F.3.  LIMITED RIGHT OF REPLACEMENT OR REFUND - If you discover a
defect in this electronic work within 90 days of receiving it, you can
receive a refund of the money (if any) you paid for it by sending a
written explanation to the person you received the work from.  If you
received the work on a physical medium, you must return the medium with
your written explanation.  The person or entity that provided you with
the defective work may elect to provide a replacement copy in lieu of a
refund.  If you received the work electronically, the person or entity
providing it to you may choose to give you a second opportunity to
receive the work electronically in lieu of a refund.  If the second copy
is also defective, you may demand a refund in writing without further
opportunities to fix the problem.

1.F.4.  Except for the limited right of replacement or refund set forth
in paragraph 1.F.3, this work is provided to you 'AS-IS' WITH NO OTHER
WARRANTIES OF ANY KIND, EXPRESS OR IMPLIED, INCLUDING BUT NOT LIMITED TO
WARRANTIES OF MERCHANTIBILITY OR FITNESS FOR ANY PURPOSE.

1.F.5.  Some states do not allow disclaimers of certain implied
warranties or the exclusion or limitation of certain types of damages.
If any disclaimer or limitation set forth in this agreement violates the
law of the state applicable to this agreement, the agreement shall be
interpreted to make the maximum disclaimer or limitation permitted by
the applicable state law.  The invalidity or unenforceability of any
provision of this agreement shall not void the remaining provisions.

1.F.6.  INDEMNITY - You agree to indemnify and hold the Foundation, the
trademark owner, any agent or employee of the Foundation, anyone
providing copies of Project Gutenberg-tm electronic works in accordance
with this agreement, and any volunteers associated with the production,
promotion and distribution of Project Gutenberg-tm electronic works,
harmless from all liability, costs and expenses, including legal fees,
that arise directly or indirectly from any of the following which you do
or cause to occur: (a) distribution of this or any Project Gutenberg-tm
work, (b) alteration, modification, or additions or deletions to any
Project Gutenberg-tm work, and (c) any Defect you cause.


Section  2.  Information about the Mission of Project Gutenberg-tm

Project Gutenberg-tm is synonymous with the free distribution of
electronic works in formats readable by the widest variety of computers
including obsolete, old, middle-aged and new computers.  It exists
because of the efforts of hundreds of volunteers and donations from
people in all walks of life.

Volunteers and financial support to provide volunteers with the
assistance they need are critical to reaching Project Gutenberg-tm's
goals and ensuring that the Project Gutenberg-tm collection will
remain freely available for generations to come.  In 2001, the Project
Gutenberg Literary Archive Foundation was created to provide a secure
and permanent future for Project Gutenberg-tm and future generations.
To learn more about the Project Gutenberg Literary Archive Foundation
and how your efforts and donations can help, see Sections 3 and 4
and the Foundation web page at http://www.pglaf.org.


Section 3.  Information about the Project Gutenberg Literary Archive
Foundation

The Project Gutenberg Literary Archive Foundation is a non profit
501(c)(3) educational corporation organized under the laws of the
state of Mississippi and granted tax exempt status by the Internal
Revenue Service.  The Foundation's EIN or federal tax identification
number is 64-6221541.  Its 501(c)(3) letter is posted at
http://pglaf.org/fundraising.  Contributions to the Project Gutenberg
Literary Archive Foundation are tax deductible to the full extent
permitted by U.S. federal laws and your state's laws.

The Foundation's principal office is located at 4557 Melan Dr. S.
Fairbanks, AK, 99712., but its volunteers and employees are scattered
throughout numerous locations.  Its business office is located at
809 North 1500 West, Salt Lake City, UT 84116, (801) 596-1887, email
business@pglaf.org.  Email contact links and up to date contact
information can be found at the Foundation's web site and official
page at http://pglaf.org

For additional contact information:
     Dr. Gregory B. Newby
     Chief Executive and Director
     gbnewby@pglaf.org


Section 4.  Information about Donations to the Project Gutenberg
Literary Archive Foundation

Project Gutenberg-tm depends upon and cannot survive without wide
spread public support and donations to carry out its mission of
increasing the number of public domain and licensed works that can be
freely distributed in machine readable form accessible by the widest
array of equipment including outdated equipment.  Many small donations
($1 to $5,000) are particularly important to maintaining tax exempt
status with the IRS.

The Foundation is committed to complying with the laws regulating
charities and charitable donations in all 50 states of the United
States.  Compliance requirements are not uniform and it takes a
considerable effort, much paperwork and many fees to meet and keep up
with these requirements.  We do not solicit donations in locations
where we have not received written confirmation of compliance.  To
SEND DONATIONS or determine the status of compliance for any
particular state visit http://pglaf.org

While we cannot and do not solicit contributions from states where we
have not met the solicitation requirements, we know of no prohibition
against accepting unsolicited donations from donors in such states who
approach us with offers to donate.

International donations are gratefully accepted, but we cannot make
any statements concerning tax treatment of donations received from
outside the United States.  U.S. laws alone swamp our small staff.

Please check the Project Gutenberg Web pages for current donation
methods and addresses.  Donations are accepted in a number of other
ways including including checks, online payments and credit card
donations.  To donate, please visit: http://pglaf.org/donate


Section 5.  General Information About Project Gutenberg-tm electronic
works.

Professor Michael S. Hart is the originator of the Project Gutenberg-tm
concept of a library of electronic works that could be freely shared
with anyone.  For thirty years, he produced and distributed Project
Gutenberg-tm eBooks with only a loose network of volunteer support.


Project Gutenberg-tm eBooks are often created from several printed
editions, all of which are confirmed as Public Domain in the U.S.
unless a copyright notice is included.  Thus, we do not necessarily
keep eBooks in compliance with any particular paper edition.


Most people start at our Web site which has the main PG search facility:

     http://www.gutenberg.net

This Web site includes information about Project Gutenberg-tm,
including how to make donations to the Project Gutenberg Literary
Archive Foundation, how to help produce our new eBooks, and how to
subscribe to our email newsletter to hear about new eBooks.