5494 Remote Control Unit

Local copy of uCode, Release Patches, Feature Patches (before IBM cleanses the site!)
You will need a 2.88MB floppy to extract some of these!
Release 3.2 Microcode Diskettes
Release 3.2 Patches
Release 3.2 Feature Patches

Related Redbooks
co20bk055494 Remote Control Unit R3.2 Bookshelf

5494 Planar
5494 Memory (56 pin simms!!!)
5494 Operator Panel PCB
5494 PSU
5494 Cables



5494 Front



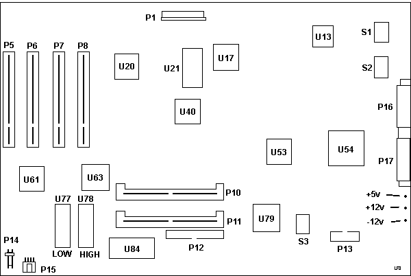
5494 Planar
P1 30 pin header, unk
P5-8 16 bit slots
P10 SIMM2 56 pins!
P11 SIMM1 56 pins!
P12 Floppy Header
P13 Operator panel
P14 Fan power
P15 Power / LEDs
P16-17 Contacts for power plugs
S1 14.318 MHz osc
S2 32.00000 MHz osc
S3 24.00000 MHz osc
U13 80386SX-16
U17 57F1139
U20 23F8566
U21 DS1287 RTC
U40 27F4620
U53 27F4619
U54 63F7520
U61 23F9177
U63 02F9624
U77 Firmware 03F0312
U78 Firmware 03F0313
U79 intel 71F7834 (resembles 82077)
U84 DS1225AD-170 NVRAM
1

2MB ECC?? SIMM, 53F7913
  These use a 56 pin SIMM.

Individual memory modules are 02G2871
 
 
 

Operator Panel Controller Board

P1 LEDs
P2 LCD Panel
P3 Header to planar
P4 Tape connector to keypad
U4 intel 02F9476
Y1 8.000 MHz xtal

P13 Operator Panel Controller Pinout
1 Ground
2 Operator Panel Reset
3 Ground
4 Transmit Data
5 Ground
6 Planar Reset
7 Ground
8 Recieve Data
9 Ground
10 -5V
11 Ground
12 Speaker Data
13 Ground
14 Reserved

5494 Power Supply P/N 03F0420
   Uses a 90 form factor PSU, but wimpier
Input 100-240v 1.6 - 0.78A 50 / 60 hz 
Output 63.8 Watts
+5v 10A
+12v 0.80A
-12v 0.35A

Uses an NMB Boxer fan, 3610NL-04W-B10 12v, 0.13A ball bearings, brushless



5494 Operator Panel Components
   The operator panel is located on the right-hand front side of the 5494 and consists of a keypad, an LCD, and four LEDs (Ready, Call 5494 Service, See PD Guide, and Test Mode) that indicate operating status.  An 8051 microprocessor controls the LCD, LEDs, and the keypad.  Communications between the planar and the operator panel are through a serial port. 

LCD

   The LCD has 16 character positions. It is blank and displays a cursor in the rightmost position when not in use. When the 5494 operator panel is in use, there will always be a message code (002-01 in the above example) displayed on the left-hand side of the LCD. The message codes are described in "Message Codes" in topic 3.1. When the 5494 is in use, the LCD can also contain, in the data field on the right-hand side of the LCD, a system reference code (SRC) or information as defined by the message code. In the example, the data field contains an SRC. 

   If an error occurs before or during normal operation, both a message code and an SRC will be displayed on the LCD and an LED will be lit. If more than one error occurs during normal operation, the message codes and SRCs will cycle at 3-second intervals. If the error clears (a link is established after a failure, for example), the message code and SRC will be removed from the LCD by the 5494.



Normal Power-On Display Sequence
Soon after the 5494 power pushbutton is set to ON (|): 
  1.  All LEDs are ON for 1 second. 
  2.  All LEDs are OFF for 1 second. 
  3.  The Test Mode LED is switched ON. 
  4.   001-01 is displayed, indicating that POST is running. 
  5.  The date and time are displayed on the LCD. 
  6.  The microcode is loaded. 
  7.  The Test Mode LED is switched OFF. 
  8.  Within 10 seconds, the Ready LED is switched ON


Keypad Description

The keys on the keypad allow commands to be entered and sent to the 5494, and include: 

REQ Initiates a request function 
PF1 Used for special requests 
PF2 Used for special requests 
Esc Used to cancel a request 
Alt Enables the alternate hexadecimal values of keys 4 through 9, to be used with keys PF1, PF2, and Esc for additional special functions. (Ed. Might be the SHFT key)
Enter Signals to the 5494 the end of an input string 
Clear  Clears a value being entered and allows you to begin again 
0 to 9 Numerics 0 to 9 
Alt+4 Hexadecimal A 
Alt+5 Hexadecimal B 
Alt+6 Hexadecimal C 
Alt+7 Hexadecimal D 
Alt+8 Hexadecimal E 
Alt+9 Hexadecimal F 
Up arrow Scroll up through several choices or panels of data 
Down arrow Scroll down through several choices or panels of data 
Left arrow Move the cursor left or scroll to additional fields of data 
Right arrow Move the cursor right or scroll to additional fields of data. 

   If you hose the refstamp, the 5494 will not boot up and the error code '003-04   1' is displayed on the Op Panel.

Model Conversions
Model 001 or Model 002 to Model EXT. Model 001 and Model 002 can be made functionally equivalent to Model EXT by installing level 3.0 microcode or later. 



Cables For 5494

72X5645  Cable Asm,Twinaxial Workstation Adapter (Ports 0-3)
03F0386  Cable Asm,Twinaxial Workstation Adapter (Ports 4-7) 

Note: The Twinaxial Workstation Attachment cable connected to the slot with the lowest number supports twinaxial  ports 0--3. The Twinaxial Expansion Adapter, if installed, supports twinaxial ports 4--7. 
 
 

9595 Main Page