Illuminator
@80EE.ADF - ILLUM-16/MC Video Graphics Board 
adi2_0.zip  ADI rendering driver
loadtga.exe  Load a TGA file with this executable
multiple.zip  Run two Illuminator-16's in the same PC
util204.zip  Illuminator-16 Utilities version 2.04
win31drv.zip  Windows 3.1 drivers
winovly.zip  Windows Overlay drivers

ILLUM-16/MC Base Card 
ILLUM-16/MC Daughter Card 
ADF Sections 



ILLUM-16/MC Base Card
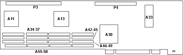
A11,13 VSDP/O 
A30 VIC/O
A33 BIOS? 669.3
A34-37,42-49,55-59 TC524256Z-10
P3 72 pin header
P4 54 pin header

ILLUM-16/MC Daughter Card 
A1 CA3183E
A5,10 NEC D42101C-3
A6 Bt PS00024
A7 Bt471KPJ35
A8 Bt101KPJ
A11 TDA3566 
A23 CA3083
J1 DB9
J2 HDD15
P2 54 pin header
P3 72 pin header
RV1-6 No freakin' idea
X1 7.15909 MHz Xtal
X2 28.63636 MHz osc

   First thing, this has more jumpers than Carter's got liver pills (pharmaceutical company, not the President). I have NO idea what they are for.



AdapterId 80EE ILLUM-16/MC Video Graphics Board - REV 1.0

; There are 3 pos registers to program on the Illuminator
NumBytes 3
; now we make sure the ROM protect is on, The Y axis is correct, The TARGA access is OK. These will be re-programmed by the BIOS but I want to make sure.
FixedResources pos[1]=XX1101XXb

CARD address
   Select where the Illuminator card  is going to be decoded. If more than one card is put in  a system, all cards should be placed at different addresses.  If it's not possible to put all cards at different addresses,  then only one should be decoded and extra cards should have  this option set to Disable card decoding.
    <"Card segment at CC00h" (CC00-CFFF), C000 (C000-C3FF), C400 (C400-C7FF), C800 (C800-CBFF), D000 (D000-D3FF), D400 (D400- D7FF), D800 (D800-DBFF), DC00 (DC00-DFFF), Disable card decoding

I/O address
   Select where the I/O registers of  the Illuminator card are going to be decoded. If more than  one card is put in a system, all cards should be placed at  different I/O addresses.
   <"Disable I/O accesses">,  (not sure if this is the default)
   200h (0200-0205, 0600-0603, 0A00-0A03, 0E00-0E03)
   210h (0210-0225, 0610-0623, 0A10-0A23, 0E10-0E23)
   220h (0220-0225, 0620-0623, 0A20-0A23, 0E20-0E23)
   230h (0230-0235, 0630-0633, 0A30-0A33, 0E30-0E33)
   240h (0240-0245, 0640-0643, 0A40-0A43, 0E40-0E43)
   250h (0250-0255, 0650-0653, 0A50-0A53, 0E50-0E53)
   260h (0260-0265, 0660-0663, 0A60-0A63, 0E60-0E63)
   270h (0270-0275, 0670-0673, 0A70-0A73, 0E70-0E73)
   280h (0280-0285, 0680-0683, 0A80-0A83, 0E80-0E83)
   290h (0290-0295, 0690-0693, 0A90-0A93, 0E90-0E93)
   2A0h (02A0-02A5, 06A0-06A3, 0AA0-0AA3, 0EA0-0EA3)
   2B0h (02B0-02B5, 06B0-06B3, 0AB0-0AB3, 0EB0-0EB3)
   2C0h (02C0-02C5, 06C0-06C3, 0AC0-0AC3, 0EC0-0EC3)
   2D0h (02D0-02D5, 06D0-06D3, 0AD0-0AD3, 0ED0-0ED3)
   2E0h (02E0-02E5, 06E0-06E3, 0AE0-0AE3, 0EE0-0EE3)
   2F0h (02F0-02F5, 06F0-06F3, 0AF0-0AF3, 0EF0-0EF3)

frame buffer configuration
   Selects where the frame buffer of the Illuminator card is going to be decoded. If more then one card is put in a system, all cards should be placed at different addresses. If it is impossible to place them all at different addresses then only one of the cards should have it's frame buffer programmed. Extra cards would then be set to No frame buffer.
Two  4k buffers at D000h 0D0000h - 0D1FFFh
Two 8k buffers at D000h 0D0000h - 0D3FFFh
Two 16k buffers at D000h 0D0000h - 0D7FFFh
Two 32k buffers at D000h 0D0000h - 0DFFFFh
Two 4k buffers at D400h 0D4000h - 0D5FFFh
Two 8k buffers at D400h 0D4000h - 0D7FFFh
Two 4k buffers at D800h 0D8000h - 0DDFFFh
Two 8k buffers at D800h 0D8000h - 0DBFFFh
Two 16k buffers at D800h 0D8000h - 0DFFFFh
Two 4k buffers at DC00h 0DC000h - 0DDFFFh
Two 8k buffers at DC00h 0DC000h - 0DFFFFh
Disable buffers  
Two 4k buffers at A000h 0A0000h - 0A1FFFh
Two 8k buffers at A000h 0A0000h - 0A3FFFh
Two 16k buffers at A000h 0A0000h - 0A7FFFh
Two 32k buffers at A000h 0A0000h - 0AFFFFh
Two 4k buffers at A400h 0A4000h - 0A5FFFh
Two 8k buffers at A400h 0A4000h - 0A7FFFh
Two 4k buffers at A800h 0A8000h - 0AAFFFh
Two 8k buffers at A800h 0A8000h - 0ABFFFh
Two 16k buffers at A800h 0A8000h - 0AFFFFh
Two 4k buffers at AC00h 0AC000h - 0ADFFFh
Two 8k buffers at AC00h 0AC000h - 0AFFFFh
Two 4k buffers at B000h 0B0000h - 0B1FFFh
Two 8k buffers at B000h 0B0000h - 0B3FFFh
Two 16k buffers at B000h 0B0000h - 0B7FFFh
Two 4k buffers at B400h 0B4000h - 0B5FFFh
Two 8k buffers at B400h 0B4000h - 0B7FFFh
Two 4k buffers at C000h 0C0000h - 0C1FFFh
Two 8k buffers at C000h 0C0000h - 0C3FFFh
Two 16k buffers at C000h 0C0000h - 0C7FFFh
Two 32k buffers at C000h 0C0000h - 0CFFFFh
Two 4k buffers at C400h 0C4000h - 0C5FFFh
Two 8k buffers at C400h 0C4000h - 0C7FFFh
Two 4k buffers at C800h 0C8000h - 0CCFFFh
Two 8k buffers at C800h 0C8000h - 0CBFFFh
Two 16k buffers at C800h 0C8000h - 0CFFFFh
Two 4k buffers at CC00h 0CC000h - 0CDFFFh
Two 8k buffers at CC00h 0CC000h - 0CFFFFh
Two 256k buffers at 10000h 0100000h - 017FFFFh
Two 256k buffers at 20000h 0200000h - 027FFFFh
Two 256k buffers at 30000h 0300000h - 037FFFFh
Two 256k buffers at 40000h 0400000h - 047FFFFh
Two 256k buffers at 50000h 0500000h - 057FFFFh
Two 256k buffers at 60000h 0600000h - 067FFFFh
Two 256k buffers at 70000h 0700000h - 077FFFFh
Two 256k buffers at 80000h 0800000h - 087FFFFh
Two 256k buffers at 90000h 0900000h - 097FFFFh
Two 256k buffers at A0000h 0A00000h - 0A7FFFFh
Two 256k buffers at B0000h 0B00000h - 0B7FFFFh
Two 256k buffers at C0000h 0C00000h - 0C7FFFFh
Two 256k buffers at D0000h 0D00000h - 0D7FFFFh
Two 256k buffers at E0000h 0E00000h - 0E7FFFFh
Two 512k buffers at 10000h 0100000h - 01FFFFFh
Two 512k buffers at 20000h 0200000h - 02FFFFFh
Two 512k buffers at 30000h 0300000h - 03FFFFFh
Two 512k buffers at 40000h 0400000h - 04FFFFFh
Two 512k buffers at 50000h 0500000h - 05FFFFFh
Two 512k buffers at 60000h 0600000h - 06FFFFFh
Two 512k buffers at 70000h 0700000h - 07FFFFFh
Two 512k buffers at 80000h 0800000h - 08FFFFFh
Two 512k buffers at 90000h 0900000h - 09FFFFFh
Two 512k buffers at A0000h 0A00000h - 0AFFFFFh
Two 512k buffers at B0000h 0B00000h - 0BFFFFFh
Two 512k buffers at C0000h 0C00000h - 0CFFFFFh
Two 512k buffers at D0000h 0D00000h - 0DFFFFFh
Two 512k buffers at E0000h 0E00000h - 0EFFFFFh
Two 1M buffers at 20000  (020000-03FFFF), 40000  (040000-05FFFF),
 60000 (060000- 07FFFF), 80000 (080000-09FFFF), A0000 (A0000 - 0BFFFF), C0000 (0C0000-0DFFFF), D0000 0D0000-0EFFFF)
Two 2M buffers at 40000 (040000-07FFFF), 80000 (080000-0BFFFF)
 
Interrupt select
   Iinterrupt line used by the Illuminator
   <" disable interrupts">, 11, 12, 15
 
 

9595 Main Page